Manuel du conducteur
Le remplacement de cette pièce est une opération complémentaire au remplacement du renfort de traverse inférieure de baie pour une collision latérale.
Cette opération s'effectue suivant deux possibilités (voir méthode ci-après) :
Dans la méthode décrite ci-après vous ne trouverez que les descriptions et liaisons spécifiques pour le remplacement partiel.
Le remplacement complet ne présente pas de difficulté particulière.
Les informations concernant les pièces complémentaires seront traitées dans leurs chapitres respectifs (voir sommaire).
Composition de la piece de rechange
Pièce livrée avec :
Supports de compat de capot
Traverse
Goujons soudés

Pieces concernees (épaisseur en mm) :


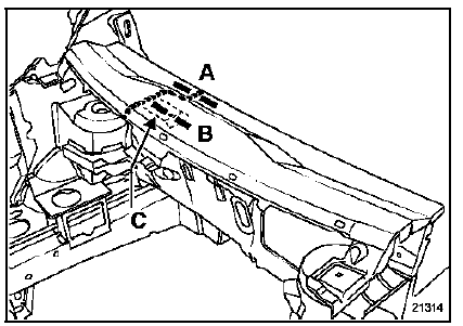
Attention : la coupe est située au niveau du renfort support d'essuie-vitre (c) indiqué en pointillé sur le dessin.
Lors de la découpe faire attention de ne pas le détériorer.

Passage de roue avant
Renfort de traverse inférieure de baieRenfort de support moteur
Le remplacement de cette pièce est une opération
complémentaire au passage de roue avant partie
avant ou au demi-bloc pour une collision avant.
L'utilisation du banc de réparation est indispensable.
Dans la méthode décrite ci-après vous ne tro ...
Réseau multiplexé hors service
Consignes
Vérifier d'abord que les calculateurs soient alimentés.
Couper le contact, retirer la clé vérifier que les lanternes soient éteintes,
attendre
1 minute.
Faire les mesures sur la prise diagnostic du véhicule.
Recherche du type de
d& ...
Installation du siège enfant, généralités
Certaines places ne sont pas autorisées
à l'installation d'un siège enfant.
Le schéma en page suivante vous indique
où fixer un siège enfant.
Les types de siège enfant mentionnés
peuvent ne pas être disponibles. Avant
d'utiliser ...