Manuel du conducteur
Le remplacement de cette pièce est une opération de base pour une collision avant.
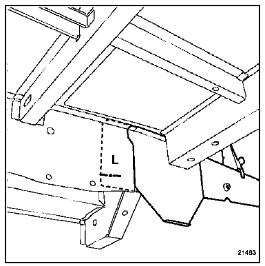
L'utilisation du banc de réparation est indispensable.
Pour déposer le longeron complet, il sera nécessaire de dégrafer plusieurs éléments supplémentaires :
Cette opération s'effectue suivant deux possibilités :
Nota : dans la méthode décrite ci-après vous ne trouverez que les descriptions et liaisons spécifiques au remplacement partiel au niveau de l'emboîtement du longeron avec l'habitacle.
Les informations concernant les pièces complémentaires seront traitées dans leurs chapitres respectifs (voir sommaire).
Composition de la piece de rechange
Pièce assemblée avec : plaquette de fixation
Equerre réhausse
Support arrière de berceau
Support intérieur arrière de berceau
Partie avant de longeron
Fermeture de longeron
Gousset latéral
Equerre flexible
Renfort de longeron
Renfort intérieur
Support de traverse radiateur
Fermeture de support de traverse radiateur
Anneau d'arrimage (côté droit)
Renfort de support moteur (côté droit)
Goujons soudés
Entretoise de fixation berceau
Ecrous soudés

Pieces concernees (épaisseur en mm) :














Attention : le poids du longeron est relativement important (assemblage de tôles de forte épaisseur).
Prendre les précautions nécessaires pour les opérations de dépose-repose.

Remplacement complet

Dessin pour information.
Nota : le remplacement complet du longeron nécessite le dégrafage de la partie arrière de longeron avant.
Fermeture de longeron avant partie avant
Renfort de support moteurGarniture de porte avant
Depose
Déposer :
La vis de fixation (a) puis la commande d'ouverture intérieure,
La vis de fixation (b) de poignée de tirage,
Les vis de fixation (c),
La manivelle de lève-vitre.
Déclipser le panneau.
Particularites pour les versions é ...
Supercondamnation
Supercondamnation des portes
Pour activer la supercondamnation
Exercez deux appuis successifs sur le
bouton 1.
Le verrouillage est visualisé par cinq
clignotements des feux de détresse et
des répétiteurs latéraux.
Particularité : la supercon ...
Glissières et chariots de porte latérale coulissante
Cette opération peut s'effectuer seule à l'aide de l'outil
de support de porte.
N d'agrément renault : 661 000
Fournisseur : z international
Référence : supo 1
Dans le cas contraire, un opérateur de plus sera
nécessaire pour maintenir la p ...