Manuel du conducteur
Outillage specialise indispensable
T. Ar. 1623 Coffret d'outils pour le remplacement des roulements arrière
Depose
Déposer :

Nota : il est impératif de reposer un roulement neuf.
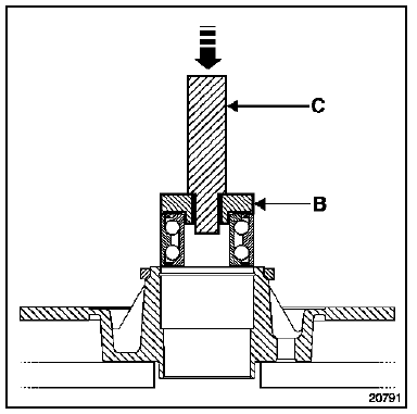
Repose

Reposer :
Moyeu de disque arrière
RessortSerrure et commande de verrouillage du
dossier de banquette deuxième rangée
Depose de la serrure
Nota : pour effectuer cette opération, il n'est pas
nécessaire de déposer la banquette.
Rabattre le dossier.
Dégager les bandes de retenue autour de la serrure.
Déposer les deux vis de fixation (a) de la serrure.
Dégager la ...
Serrage culasse
Methode de serrage culasse
Rappel : afin d'obtenir un serrage correct des vis, retirer avec une
seringue l'huile pouvant se trouver dans les
trous de fixation de la culasse.
Toutes les vis de la culasse doivent être remplacées systématiquement après
un démont ...
Transmissions
Eclaté
Transmission transversale avant
Outillage specialise indispensable
T. Av. 476 Arrache rotule
Depose cote roue
Véhicules sur un pont à deux colonnes.
Déposer :
L'enjoliveur de roue,
L'écrou du moyeu,
Les roues avant,
L'é ...