Manuel du conducteur

Preparation avant decoupe à l'aide du fil torsadé
Déposer les bras d'essuie-vitre.
Protéger (ruban de protection 77 11 171 708) l'entourage extérieur de vitre.
Depose : deux opérateurs

Débrancher les connecteurs de dégivrage (a).
A l'aide de l'aiguille passefil, par l'intérieur du véhicule perforer le cordon de colle en (b).
Découper le cordon de colle.
Repose
Pour la préparation des surfaces et le collage, se reporter à la note technique 560 a.

Installer les trois cales (c) sur le panneau de porte.
Coller les trois cales adhésives (d) sur la feuillure du panneau de porte.
Respecter l'emplacement du raccord (e) du cordon de colle.
Placer la vitre en butée contre les cales (c).
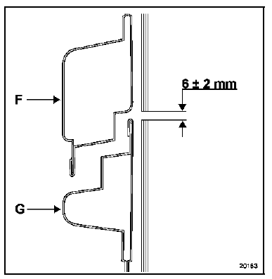
Répartir les jeux d'aspect :
Après avoir réglé les jeux d'aspect, maintenir la vitre à l'aide de ruban de masquage pendant le temps de durée de séchage de la colle.


Vitre de panneau d'aile arrière
Vitre de hayonCommande d'ouverture extérieure de porte avant
Depose
Placer la vitre coulissante en position haute.
Déposer :
La garniture de porte (chapitre 71-a),
Le cache d'inviolabilité (a).
Déposer :
La tringle de commande d'ouverture extérieure (b),
Les écrous de fixation (d).
D ...
Panneau latéral arrière partie arrière
Le remplacement de cette pièce est une opération de
base pour une collision latérale.
Dans tous les cas, il sera nécessaire de commander
en supplément l'insert gonflant situé en partie basse
arrière.
Cette opération s'effectue suivant ...
Interprétation des défauts
Tension d'alimentation
calculateur
1.Def : trop de micro-coupures
2.Def : tension hors tolérance
Consignes
Particularités : utiliser l'adaptateur b53 pour intervenir au niveau du
connecteur du
calculateur.
1.Def - 2.Def
consignes
Rien à signaler.
...