Manuel du conducteur
Le remplacement de cette pièce est une opération complémentaire au remplacement du renfort de traverse inférieure de baie pour une collision latérale.
Cette opération s'effectue suivant deux possibilités (voir méthode ci-après) :
Dans la méthode décrite ci-après vous ne trouverez que les descriptions et liaisons spécifiques pour le remplacement partiel.
Le remplacement complet ne présente pas de difficulté particulière.
Les informations concernant les pièces complémentaires seront traitées dans leurs chapitres respectifs (voir sommaire).
Composition de la piece de rechange
Pièce livrée avec :
Supports de compat de capot
Traverse
Goujons soudés

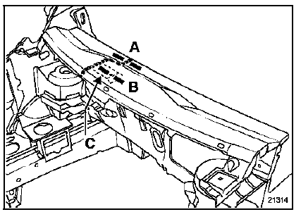
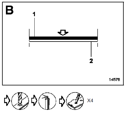
Pieces concernees (épaisseur en mm) :


Attention : la coupe est située au niveau du renfort support d'essuie-vitre (c) indiqué en pointillé sur le dessin.
Lors de la découpe faire attention de ne pas le détériorer.

Passage de roue avant
Renfort de traverse inférieure de baieLongeron arrière partie avant
Le remplacement de cette pièce est une opération
complémentaire au remplacement du plancher arrière
partie avant.
Cette opération s'effectue suivant deux possibilités :
Complète,
Partielle suivant la coupe a ou b.
Important :
Coupe b &a ...
Serrure de porte arrière de chargement
Depose de la serrure de porte arrière gauche
Déposer :
La vis de fixation (a),
La commande d'ouverture intérieure.
A l'aide de la pince à dégrafer, déclipser le panneau de
garniture.
Déposer :
Les trois vis de fixation (b) de s ...
Pompe de basse pression (pompe de gavage)
Outillage specialise indispensable
Mot. 1397 Ecrou de démontage de pompe à
carburant
Important :
Lors de toute intervention sur le réservoir ou sur le
circuit d'alimentation de carburant, il est impératif :
De ne pas fumer et de ne pas approcher d'objet
incande ...