Manuel du conducteur
Outillage specialise indispensable
T. Av. 1624 Coffret d'outils pour le remplacement des roulements avant
Depose
Déposer :


Attention : il est impératif de reposer un roulement neuf préalablement nettoyé des matières grasses présentes sur les surfaces intérieures et extérieures en contact avec le porte-fusée et le moyeu.
Attention : il est impératif de nettoyer les surfaces du porte-fusée et du moyeu, (en contact avec le roulement) des matières grasses présentes sur ceux-ci.
Repose


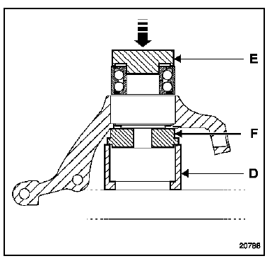
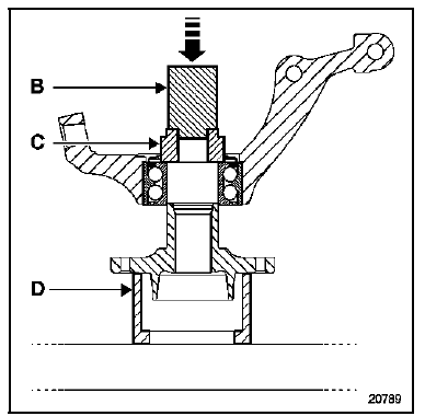
Reposer le roulement dans le porte-fusée à l'aide des outils d, e et f. La cible noire abs orientée côté intérieur du porte-fusée.
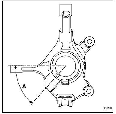
Nota : il est impératif de veiller au bon positionnement du porte-capteur abs (a = 48 +- 5 avec l'horizontale).

Reposer :
Porte-fusée
Combiné ressort-amortisseurSchéma de principe général des circuits de freinage
Nota : le schéma suivant est un schéma de principe général; il ne
faut en aucun cas le prendre comme référence
pour les piquages et l'affectation des circuits. Lors du remplacement d'un des
éléments constitutifs du circuit de
freinage d'u ...
Panneau de porte latérale coulissante
Le remplacement de cette pièce est une opération de
base pour une collision latérale.
Cette opération s'effectue suivant deux possibilités :
Complète pour les panneaux tôles,
Partielle pour les panneaux vitrés suivant les
coupes a.
Nota ...
Interprétation des défauts
Circuit
capteur température d'eau
Cc.0 : Court-circuit à la masse.
Co.1 : Circuit ouvert ou court-circuit au +12 volts.
1.Def : température d'eau de fonctionnement non atteinte.
Consignes
Conditions d'application du diagnostic sur défaut m&eac ...