Manuel du conducteur
Outillage specialise indispensable
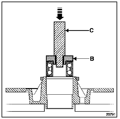
T. Ar. 1623 Coffret d'outils pour le remplacement des roulements arrière
Depose
Déposer :

Nota : il est impératif de reposer un roulement neuf.
Repose

Reposer :
Moyeu de disque arrière
RessortPurge de circuit de freinage (sauf abs)
Outillage specialise indispensable
Appareil de purge préconisé par renault
Pour les véhicules équipés d'un servofrein, il est important que, pendant
la purge, et quelle que soit la
méthode appliquée, le dispositif d'assistance ne soit pas mis en ...
Depose de la planche de bord
Attention : il est interdit de manipuler les systèmes pyrotechniques
(airbags et prétensionneurs) près d'une source de chaleur ou d'une
flamme ; il y a risque de déclenchement.
Depose
Déclipser le cache sous le volant.
Important : avant la dépos ...
Support de rotule d'équilibreur
le remplacement de cette pièce est une opération liée
à un incident, lors d'un arrachement de l'embase de la
rotule.
dans le cas où l'arrachement se ferait au niveau des
filetages de fixation il est possible de remplacer le filet
d'origine par un écro ...