Manuel du conducteur
Le remplacement de cette pièce est une opération complémentaire au remplacement d'un marche pied latéral avant pour une collision latérale avant ou liée au remplacement d'un longeron avant.
Cette opération peut s'effectuer suivant plusieurs possibilités :
Important : les positions de coupes sont données à titre indicatif, elles peuvent être décalées suivant les déformations dues au choc.
Dans la méthode décrite ci-après vous ne trouverez que les descriptions et liaisons spécifiques de la pièce concernée lors des coupes partielles.
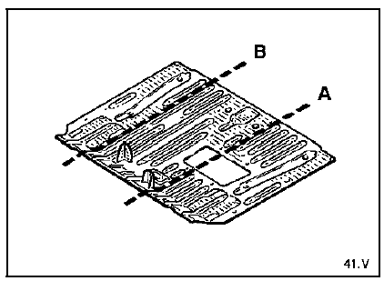
Vous trouverez ci-après un dessin de la pièce en position pour information.
Les informations concernant les pièces complémentaires seront traitées dans leurs chapitres respectifs (voir sommaire).
Composition de la piece de rechange
Pièce assemblée avec : renfort de trappe à la batterie
Renfort de fixation commande
Support boîtier
Vis soudées
Equerre de fixation
Renfort de fixation
Goujons soudés
Renfort plancher

Pieces concernees (épaisseur en mm) :
Remplacement partiel suivant coupe a


Nota : le nombre de points de bouchonnage n'est pas précisé dans la méthode.
Il sera nécessaire de respecter un écart d'environ 50 mm entre les points de soudure.
Après soudure, réaliser un cordon de colle dans la carre pour assurer l'étanchéité. Utiliser une colle type m.J.Pro (référence : 77 11 172 676) le restant des points s'effectue par bouchonnage.
Nota : lors de l'opération de découpage sur véhicule, attention de ne pas endommager les traverses et les renforts.
Remplacement partiel suivant coupe b

Nota : ce remplacement partiel permet d'éviter les nombreux points de soudure au niveau du longeron côté opposé au choc.
La méthode est identique au partiel court, seule la position de coupe change.
Boîtier avant de fixation de train arrière
Traverse avant de plancher cabineSerrure et commande de verrouillage du
dossier de banquette deuxième rangée
Depose de la serrure
Nota : pour effectuer cette opération, il n'est pas
nécessaire de déposer la banquette.
Rabattre le dossier.
Dégager les bandes de retenue autour de la serrure.
Déposer les deux vis de fixation (a) de la serrure.
Dégager la ...
Injecteurs
Il est interdit de demonter l'interieur
d'un injecteur ou de separer le porteinjecteur
de la buse
Attention : avant toute intervention, brancher
l'outil de diagnostic après-vente, entrer en dialogue
avec le calculateur d'injection et vérifier que la rampe
d'injection ne s ...
Traverse centrale de pavillon arrière
Le remplacement de cette pièce est une opération
complémentaire au remplacement du pavillon.
Il n'y a pas de spécificité méthode pour cette
opération, les liaisons étant toutes réalisables comme
à l'origine.
Vous ne trouv ...