Manuel du conducteur
Le remplacement de cette pièce est une opération complémentaire au remplacement d'un marche pied latéral arrière pour une collision arrière.
Cette opération s'effectue suivant deux possibilités :
Dans la méthode décrite ci-après vous ne trouverez que les descriptions et liaisons spécifiques de la pièce concernée.
Les informations concernant les pièces complémentaires seront traitées dans leurs chapitres respectifs (voir sommaire).
Composition de la piece de rechange
Pièce livrée seule.

Pieces concernees (épaisseur en mm) :
Remplacement partiel suivant coupe a

Nota : au-delà de la zone 1, le remplacement complet est conseillé.

Nota : le nombre de points de bouchonnage n'est pas précisé dans la méthode.
Il sera nécessaire de respecter un écart d'environ 50 mm entre les points de soudure.
Après soudure, réaliser un cordon de colle dans la carre pour assurer l'étanchéité.
Utiliser une colle type mjp (référence : 77 11 172 676).
Attention : lors de l'opération de découpage, éviter d'endommager les différentes traverses et renforts.
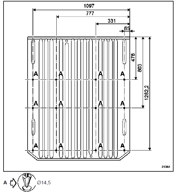
Adaptations pour les versions avec sièges

Pour des raisons de standardisation le magasin pièces de rechange ne fournit que des planchers version fourgon (sans trous).
Pour les versions bus et combi, il sera nécessaire de percer le plancher de rechange pour les fixations des sièges.
Ces opérations sont à effectuer avant peinture.
Attention : les cotations sont données pour information, il est conseillé de vérifier la position des trous par un montage d'ajustage avant de souder le plancher.
Marche pied latéral arrière
Traverse avant de plancher arrièreLégende des vignettes utilisées dans le document
Couper au burin
Meuler le cordon ou les points
de soudure.
Meuleuse droite equipee d'Aun disque
bakelite . 75, Epaisseur 1,8 a 3,2 mm.
Fraiser les points de soudure.
Meuleuse droite 20 000 tr/min. Equipee de
fraise spherique .10 Ou 16 mm.
Percer les points de soudure.
Foret &agra ...
Ralenti accéléré
Appuyez sur la commande 1, la fonction
est activée après quelques secondes.
Modification régime de ralenti
accéléré
Pour augmenter ou diminuer le régime,
faites appel à un représentant de la
marque.
Arrêt de la fonction
...
Serrure et commande de verrouillage du
dossier de banquette deuxième rangée
Depose de la serrure
Nota : pour effectuer cette opération, il n'est pas
nécessaire de déposer la banquette.
Rabattre le dossier.
Dégager les bandes de retenue autour de la serrure.
Déposer les deux vis de fixation (a) de la serrure.
Dégager la ...