Manuel du conducteur
Le remplacement de cette pièce est une opération complémentaire au remplacement de la traverse extrême arrière pour une collision arrière.
Cette opération s'effectue suivant plusieurs possibilités :
La position des coupes est modulable selon le degré du choc.
Dans la méthode décrite ci-après vous ne trouverez que les descriptions et liaisons spécifiques de la pièce concernée.
Les informations concernant les pièces complémentaires seront traitées dans leurs chapitres respectifs (voir sommaire).
Pour des raisons de standardisation, le magasin pièces de rechange ne fournit que des planchers version fourgon (sans trous).
Nota : pour les planchers courts, il sera nécessaire de découper le plancher de rechange comme indiqué dans la méthode.
Pour les versions bus et combi, il sera nécessaire de percer en supplément les trous pour les fixations des sièges.
Ces opérations sont à effectuer avant peinture.
Composition de la piece de rechange
Pièce livrée seule.

Pieces concernees (épaisseur en mm) :
Remplacement partiel suivant coupes a, b




Nota : le nombre de points de bouchonnage n'est pas précisé dans la méthode.
Il sera nécessaire de respecter un écart d'environ 50 mm entre les points soudure.
Après soudure, réaliser un cordon de mastic type m.J.Pro (référence : 77 11 172 676) dans la carre pour assurer l'étanchéité.
Le restant des points s'effectue par bouchon.
Rappel : la position des coupes est modulable selon le degré du choc.
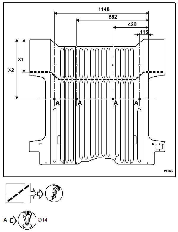
Adaptations pour les versions avec sièges

Rappel :
Pour des raisons de standardisation le magasin pièces de rechange ne fournit que des planchers version fourgon (sans trous).
Pour les versions bus et combi, il sera nécessaire de percer les trous pour les fixations des sièges.
Ces trous sont à percer suivant les marquages (protubérances) sur la pièce de rechange.
Ces opérations sont à effectuer avant peinture.
Attention :
Les cotations sont données en supplément pour information uniquement.
La cotation x1 est à relever sur le véhicule.
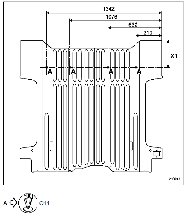
Adaptations pour les planchers courts

Rappel :
Pour les planchers courts, il sera nécessaire de découper le plancher magasin pièces de rechange comme indiqué sur le dessin.
Pour les versions bus et combi, il sera nécessaire de percer en supplément les trous pour les fixations des sièges.
Attention :
Les cotations sont données pour information uniquement.
Les cotations x1 et x2 seront à relever sur le véhicule.
Traverse arrière de plancher arrière
Fermeture latérale de traverse inférieure
extrême arrièreCaractéristiques
Jantes
Le marquage d'identification des jantes se présente sous deux formes :
Marquage gravé pour les jantes tôle.
Marquage de fonderie pour les jantes aluminium.
Il permet de connaître les principaux critères dimensionnels de la jante.
Ce marquage peut ...
Flasque de protection de disque
Depose
Déposer :
Le disque de frein (consulter la méthode
correspondante),
Les trois vis de fixation du flasque,
Le flasque.
Repose
Reposer :
Le flasque,
Les trois vis de fixation du flasque.
Serrer au couple les trois vis de fixation du flasque.
...
Fonctions diagnostiquées
Consigne
diagnostic
Attention, si vous n'arrivez pas à diagnostiquer un calculateur, vérifier la
liaison entre
la voie 7 de la prise diagnostic et la voie diagnostic correspondantes sur le
calculateur.
Vérifier aussi les alimentations et la conformité du calculat ...