Manuel du conducteur
Le remplacement de cette pièce est une opération de base.
Nota : dans la méthode décrite ci-après vous ne trouverez que les descriptions des liaisons spécifiques à la pièce concernée.
Les informations concernant les pièces complémentaires seront traitées dans leurs chapitres respectifs (voir sommaire).
Pour l'accostage b, f, i et g, le nombre de points de bouchonnage n'est pas précisé. Il sera nécessaire de respecter un écar t d'environ 70 mm entre chaque point de soudure.
Pour les zones d'encollage, il sera nécessaire d'utiliser une colle de calage type m.J.Pro (référence : 77 11 172 676).
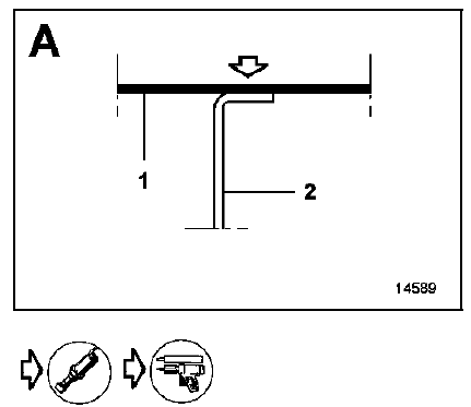
Composition de la piece de rechange
Pièce assemblée avec : pavillon de cabine
Pavillon partie arrière
Pontets de fixation galerie
Traverse arrière de pavillon de cabine
Traverse centrale de pavillon

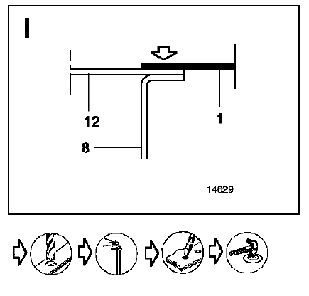
Pieces concernees (épaisseur en mm) :












Nota : cette opération est à réaliser sur chacune des traverses.


Pavillon de cabine
Pavillon arrièreNiveau huile moteur : généralités
Un moteur consomme de l'huile pour
le graissage et le refroidissement des
pièces en mouvement et il est normal
de faire un appoint d'huile entre deux
vidanges.
Toutefois, si après la période de
rodage, les apports étaient supérieurs
à 0,5 litre pour ...
Pression d'huile
Outillage specialise indispensable
Mot. 836-05 Coffret de prise de pression d'huile
Materiel indispensable
Douille longue de 22 mm
Controle
Le contrôle de la pression d'huile doit être effectué
lorsque le moteur est chaud (environ 80 c).
Composition du coffret mot. 836-05 ...
Depose du boitier evaporateur
Déposer les joints d'étanchéité (a) et (b).
Ouvrir le boîtier (c) et (d).
Repose du boitier evaporateur
Huiler les joints des tuyaux avec de l'huile préconisée.
Procéder en sens inverse de la dépose.
Important : il est impé ...