Manuel du conducteur
Introduction
L'outil car. 1504 Est utilisé pour la pose des inserts suivants :
Ecrous
Em4 Référence 77 01 047 924
Em5 Référence 77 01 047 685
Em6 Référence 77 03 043 020
Em8 Référence 77 01 047 925
Goujons
Gm6 Référence 77 01 047 926
Gm5,2 Référence 77 01 047 927
Ecrou spécial Esm6 référence 77 03 043 083
Vous trouverez, ci-après, les méthodes vous permettant d'effectuer la pose des différents inserts.
Nota : l'insert esm6 est utilisé pour l'adaptation des boîtiers de chauffage sur les caisses de mégane phase ii.
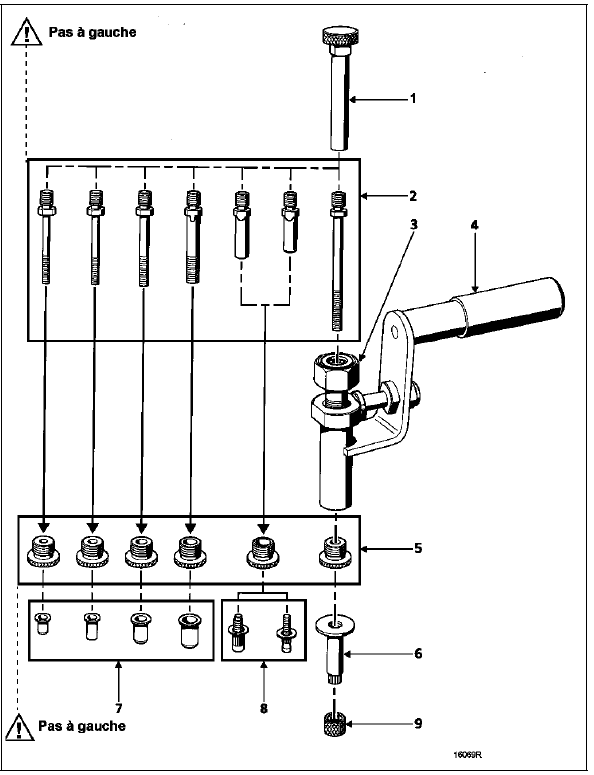
Composition du car. 1504
Référence de la pièce de rechange


1 Support tirant
4 Corps

Preparation du car. 1504
Nota :
Pour la pose de l'écrou spécial (6), le tirant passe à travers l'écrou à sertir et se visse sur l'écrou de poussée (9).
Après perçage et mise à nu des tôles, une opération de protection anticorrosion avant la mise en peinture sera nécessaire. La gamme de protection anticorrosion doit être appliquée avec les produits suivants :
1 Impression phosphatante77 01 423 933
Diluant réactif 77 01 423 955
2 Apprêt (maxima) 77 11 170 344
Utilisation de l'outil


Tourner la vis de serrage (3) dans le sens de la flèche du dessin ci-dessus tout en maintenant le corps (4).
La fin du sertissage doit être ressentie par l'opérateur (augmentation de l'effort de serrage).
Le ser tissage de l'insert est correct lorsqu'il n'y a plus de jeu en rotation de celui-ci, à vérifier avant la dépose de l'outil.
Nota : cette opération de contrôle doit s'effectuer avant de dévisser l'ensemble tige de traction/tirant.
Légende des vignettes utilisées dans le document
Architecture électrique et électroniqueArchitecture électrique et électronique
Unit avant
Porte laterale avant gauche
Porte laterale avant droite
Pied arriere de cabine
Cote de caisse droit
Cote de caisse gauche
Hayon
Portes arriere de chargement
Structure inferieure
Nota : toutes les tôles devront subir un électrozinga ...
Tuyau haute pression entre compresseur et condenseur
Depose
Débrancher la batterie.
Vidanger le circuit de fluide réfrigérant r134a à l'aide
de la station de charge.
Déposer :
L'ensemble,
Les optiques,
La calandre,
Le bouclier,
Le tuyau.
Placer des bouchons sur les orifices.
Repose
Proc&eacut ...
Renfort longitudinal de plancher arrière
Le remplacement de cette pièce est une opération liée
au remplacement d'un longeron arrière pour une
collision arrière.
Nota : il n'y a pas de spécificité méthode pour cette
opération, les liaisons sont toutes réalisables comm ...