Manuel du conducteur
Le remplacement de cette pièce est une opération complémentaire au remplacement de la fermeture de bas de caisse pour une collision latérale.
Dans la méthode décrite ci-après vous ne trouverez que les descriptions et liaisons spécifiques de la pièce concernée.
Les informations concernant les pièces complémentaires seront traitées dans leurs chapitres respectifs (voir sommaire).
Composition de la piece de rechange
Pièce livrée seule.

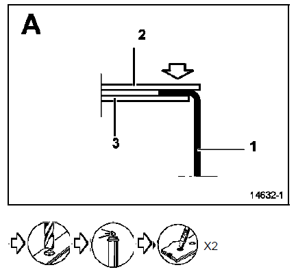
Pieces concernees (épaisseur en mm) :



Appui cric avant
Fermeture arrière de marche pied latéral avantRenfort longitudinal de fixation de
siège arrière
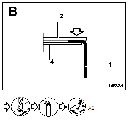
Le remplacement de cette pièce est une opération liée
au remplacement d'un plancher arrière pour une
collision latérale.
Nota : il n'y a pas de spécificité méthode pour cette
opération, les liaisons sont toutes réalisables com ...
References des outillages specifiques
Celette
Pièces fournisseur
Têtes spécifiques pour système mz
Commander à : celette s.A.
B.P. 9 38026 Vienne
Référence fournisseur : 874.300
Blackhawk
Pièces fournisseur
Têtes spécifiques pour système ms
Command ...
Carte renault : pile
Remplacement de la pile
Lorsque le message " pile carte faible "
apparaît au tableau de bord, remplacez
la pile de la carte renault, appuyez
sur le bouton 1 en tirant sur la clé de secours
2, puis déclippez le couvercle 3 à
l'aide de la languette 4.
Retirez la ...