Manuel du conducteur
Le remplacement de cette pièce est une opération complémentaire au remplacement du plancher arrière partie avant.
Cette opération s'effectue suivant deux possibilités :
Important :
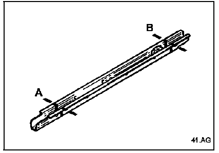
Coupe b à utiliser pour une collision avant.
Coupe a à utiliser pour une collision arrière.
Nota : danc la méthode décrite ci-après vous ne trouverez que les positions des coupes pour le remplacement partiel.
Pour des raisons de standardisation le magasin pièces de rechange ne fournit qu'une pièce correspondant à la version rallongée.
Pour les versions courtes, il sera nécessaire de couper la pièce de rechange.
Ces opérations sont à effectuer avant peinture.
Les informations concernant les pièces complémentaires seront traitées dans leurs chapitres respectifs (voir sommaire).
Composition de la piece de rechange
Pièce livrée seule.

Pieces concernees (epaisseur en mm) :
Remplacement partiel


Nota : les coupes a et b permettent d'éviter le dégrafage au niveau de l'emboîtement du longeron.
Rappel : coupe b à utiliser pour une collision avant.
Coupe a à utiliser pour une collision arrière.
Arrêt de gaine
Supports de fixation d'échappementIdentification du véhicule
Emplacement de la plaque d'identification du vehicule
Nota : lors d'un remplacement de la caisse complète ou de l'élément
de structure sur laquelle est collée la plaque
d'identification, il est possible de se procurer une nouvelle plaque en
s'adressant au se ...
Feux arrière
Les feux arrière sont constitués de deux parties : une
partie supérieure (feu de position, feu de stop et
clignotant) et une par tie inférieure (feu de recul et feu
de brouillard).
Depose des feux (partie supérieure)
Déposer les vis de fixation (1).
...
Commande d'ouverture extérieure de portes de chargement
Depose
Déposer :
La vis de fixation (a),
La commande d'ouverture intérieure.
A l'aide de la pince à dégrafer, déclipser la garniture de
porte.
Déposer :
La tringle de commande d'ouverture (b),
Les deux écrous de fixation ...