Manuel du conducteur
Le remplacement de cette pièce est une opération complémentaire au remplacement du pied avant de cabine pour une collision latérale.
Important : cette pièce fait partie d'une zone de la caisse où passent beaucoup d'efforts.
Les points de soudure non indiqués dans la méthode, sont réalisables type première monte.
Cependant par sécurité, il est conseillé d'effectuer des points supplémentaires de bouchonnage pour conserver les propriétés mécaniques.
Dans la méthode décrite ci-après vous ne trouverez que les descriptions et liaisons spécifiques de la pièce concernée.
Les informations concernant les pièces complémentaires seront traitées dans leurs chapitres respectifs (voir sommaire).
Composition de la piece de rechange
Pièce livrée seule.

Pieces concernees (épaisseur en mm) :
Fermeture de pied avant de cabine 0,9
Renfort de pied 1,2


Pied avant de cabine
Renfort de pied avant de cabineSerrures inférieures de banquette arrière
deuxième rangée
Depose : à deux opérateurs
Rabattre le dossier de banquette.
Déposer :
La banquette,
Les vis de fixation (a).
Dégager l'ensemble du mécanisme.
Repose : (sens de montage)
Serrure extérieure (b).
Serrure inférieure (c).
...
Lave-vitre arrière
Essuie-vitre arrière
à cadencement en
fonction de la vitesse
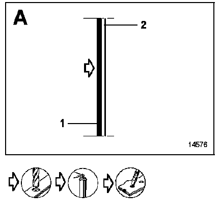
Contact mis, pivotez l'extrémité de la
manette 1 jusqu'à amener le symbole
en face du repère 2.
La fréquence de balayage varie en
fonction de la vitesse.
Lors des intervention ...
Niveau huile moteur : généralités
Un moteur consomme de l'huile pour
le graissage et le refroidissement des
pièces en mouvement et il est normal
de faire un appoint d'huile entre deux
vidanges.
Toutefois, si après la période de
rodage, les apports étaient supérieurs
à 0,5 litre pour ...