Manuel du conducteur

Depose
Mettre le véhicule sur un pont élévateur.

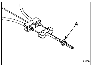
Détendre les câbles de frein à main en agissant sur l'écrou de réglage du palonnier (a).

Dégager le câble (b).
Déclipser le câble (c).
Déposer :
Repose
Procéder en sens inverse de la dépose.
Serrer au couple les vis de fixation du levier de commande de frein à main.
Effectuer un réglage.
Pédale de frein
Compensateur de freinageDispositifs de correction et d'assistance à la conduite
Suivant véhicule, ils peuvent être
constitués :
De l'antiblocage des roues (abs) ;
Du contrôle dynamique de
conduite (esc) avec contrôle de
sous-virage et système antipatinage
;
De l'assistance de conduite avec
une remorque ;
De l'assistance ...
Interprétation des défauts
Circuit
capteur température d'eau
Cc.0 : Court-circuit à la masse.
Co.1 : Circuit ouvert ou court-circuit au +12 volts.
1.Def : température d'eau de fonctionnement non atteinte.
Consignes
Conditions d'application du diagnostic sur défaut m&eac ...
Renfort supérieur de côté d'auvent
Le remplacement de cette pièce est une opération de
base pour une collision avant.
Dans la méthode décrite ci-après vous ne trouverez
que les descriptions et liaisons spécifiques de la pièce
concernée.
Les informations concernant les p ...