Manuel du conducteur
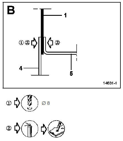
Le remplacement de cette pièce nécessite la dépose du renfort de côté d'auvent et est complémentaire au remplacement du pied avant de cabine pour une collision latérale.
Cette opération s'effectue suivant deux possibilités (voir méthode ci-après) :
Nota : il sera nécessaire de commander en supplément le renfort de côté d'auvent.
Dans la méthode décrite ci-après vous ne trouverez que les descriptions et liaisons spécifiques de la pièce concernée.
Les informations concernant les pièces complémentaires seront traitées dans leurs chapitres respectifs (voir sommaire).
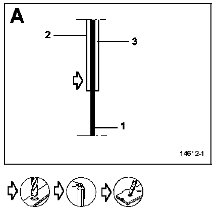
Composition de la piece de rechange
Pièce assemblée avec : ecrou soudé.
Goujon soudé.
Support filtre à gazole (côté droit).

Pieces concernees (épaisseur en mm) :
Remplacement complet









Remplacement partiel



Nota : le nombre de points de bouchonnage n'est pas précisé dans la méthode.
Il sera nécessaire :
Utiliser une colle type m.J.Pro (référence : 77 11 172 676).
Renfort supérieur de côté d'auvent
Support de compas de capotBarillet de porte latérale coulissante
Depose
Après avoir déposé la garniture de porte (chapitre 72-b),
Déposer :
Les trois vis de fixation (a) de commande de serrure,
La tringle (b) de commande de barillet.
Dégager la commande d'ouverture intérieure.
Déposer :
Le c ...
Compensateur de freinage
Reglage
Effectuer cinq actions sur le levier afin de mettre les
câbles en condition normale d'utilisation.
Mesurer les cotes x sur les étriers gauche et droit. La
somme des cotes doit être comprise entre 0,1 et
0,5 millimètre.
Attention : la somme des cotes ne doi ...
Support de traverse radiateur
Le remplacement de cette pièce est une opération de
base pour une collision avant.
Cette opération s'effectue suivant deux possibilités :
Complète,
Partielle suivant la coupe a.
Dans la méthode décrite ci-après vous ne trouverez
q ...