Manuel du conducteur


Préparation de la pièce de rechange

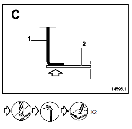
Remplacement complet avec renfort d'anneau

Nota : le remplacement complet (avec renfort) nécessite le dégrafage de la fermeture latérale de traverse inférieure extrême arrière (2).
Rappel : cette opération est réalisable, mais il est plus judicieux d'effectuer un remplacement partiel du longeron arrière.
Le remplacement de cette pièce est une opération complémentaire au remplacement de la traverse inférieure extrême arrière pour une collision arrière.
Cette opération s'effectue partiellement de la même façon que pour le remplacement de l'anneau de remorquage.
Il n'y a pas d'intérêt à remplacer la pièce complète, dans ce cas le remplacement de la partie arrière partielle du longeron est plus approprié.
Les informations concernant les pièces complémentaires seront traitées dans leurs chapitres respectifs (voir sommaire).
Composition de la piece de rechange
Pièce livrée seule.

Anneau d'arrimage arrière
Traverse arrière de plancher arrièreGarniture de dossier première rangée
Depose du dossier 1/3
Déclipser les deux caches de guides de repose-tête.
Dégager :
Les bandes de retenue (a) de coiffe,
La coiffe avec sa mousse (b).
Dans le cas de dépose de coiffe uniquement :
dégager les bandes de retenue (a) de coiffe.
Raba ...
Ralenti accéléré
Appuyez sur la commande 1, la fonction
est activée après quelques secondes.
Modification régime de ralenti
accéléré
Pour augmenter ou diminuer le régime,
faites appel à un représentant de la
marque.
Arrêt de la fonction
...
Ceintures de sécurité
Pour assurer votre sécurité, portez
votre ceinture de sécurité lors de tous
vos déplacements. De plus, vous
devez vous conformer à la législation
locale du pays où vous vous trouvez.
Pour la bonne efficacité des ceintures
arri&egra ...